






Траверсы ТН-19 выпускаются в соответствии с типовым проектом 21.0045-18.
Назначением траверсы ТН-19 является крепление проводов на опорах при прокладке низковолтных воздушных ЛЭП номинальным напряжжением 0,4 кВ. Крепеж траверсы на опору осуществляется хомутом. Хомуты имеют различные типоразмеры для всех видов опор. Так, на опору СВ95 траверса крепится хомутом Х-10, на опору СВ105 - хомутом Х-42, и аналогично для других опор. Хомуты не включаются в комплект поставки траверсы. Определившись с видом опоры, необходимо отдельно заказать требуемый хомут
.
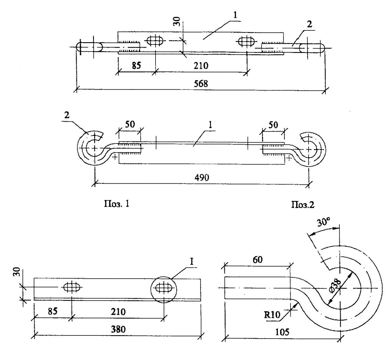
Спецификация траверсы ТН-19| ПОЗИЦИЯ | НАИМЕНОВАНИЕ ДЕТАЛИ | КОЛИЧЕСТВО | МАССА, КГ |
|---|---|---|---|
| 1 | Уголок 50х50х5 ГОСТ8509-86 | 1 | 2.60 |
| 2 | Круг 20 ГОСТ2590-88, L=233 | 2 |
Размеры траверсы ТН-19:

Варианты обозначения: траверса ТН-19, TH19, TH-19